Pieza isolatzailea

Pieza isolatzaile perfekzionatua, bloke biko trabes gaineko errailak elastikoki eusteko

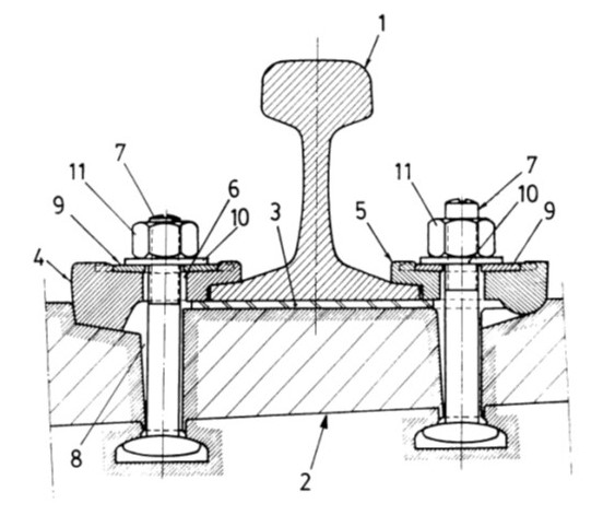
Oro har, pieza horiek errailaren patinaren bi aldeetan jartzen dira, erraila trabesari eusteko, gabila hariztatuen edo zeharkatzen dituzten torloju eta azkoinen bidez, eta, aldez aurretik, altzairuzko plaka elastiko handiak jartzen dira, pieza isolatzaile horien goiko aldean konfiguratutako kaxatze baten gainean.

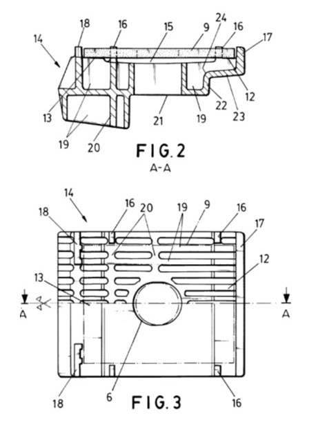
Asmakuntzarekin, xafla edo plaka elastikoari eusteko kaxatzearen hondoan, alboetara irekitako hondoratze zabal bat egin da, plaka elastikoaren euskarri bakartzat errailarekiko paraleloak diren muturreko bi zerrenda ezartzeko.

Horrela, atxikitze-pieza isolatzaileari zuzeneko ahaleginak transmititzea eragotzi egiten zaio, estutze egokia egiten denean, eta segurtasun handiagoa lortzen da, bai eta fabrikazio-ekonomia ere, eta trenen abiadura handitzeak ezartzen dituen eskakizunak betzen dira (
160 km/h baino gehiago izan behar da).

Finkatze-sistema 45 kg/m eta 54kg/m-ko errailetan aplika daiteke.