OG I shaft

Rail axle with automatic change to multiple track widths

Approved and validated system of movable tread and gauge changer assemblies for the movement of freight wagons (standard gauge / Iberian gauge)

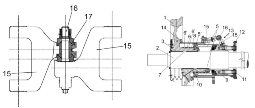
The present invention refers to a railway axis with automatic change to multiple track gauges, making it possible to solve the problem of the difference in track width adopted in the various railway networks in the world and which represents a barrier to railway traffic, forcing having to carry out load transshipment or manual gauge change. Specifically, the railway axis is designed to modify the width between wheels in railway vehicles to pass continuously from one track gauge to another, making them circulate through a section of transition track with rail and check rail, which by varying their width continuously, connect the two tracks of different width.

Description

The railway axle comprises railway wheels (1) mounted on an axle (2) by sliding adjustment, by virtue of the interposition of adjusted bushings (3) that are lubricated by grease on the inner part (4) of the wheel (1), allowing the transition from one width to another without the need to release the load from the wheels. The wheels (1) are locked to the shaft (2) in their axial displacement by means of the sleeve (5) of claws (5 ') fixed in rotation to the shaft (2), housing the claws (5') in annular and trapezoidal grooves ( 6 ') provided in rings (6) mounted on the hub (7) of the wheel (1), participating in the locking and unlocking an interlocking sleeve (10) and prestressed springs (11) whose force can be overcome by means of a pusher (12) in the form of a disk, the railway axle also including some articulated bars (13) connected at one end to a support sleeve (14) of the articulated bars themselves (13) and at the other end to a base ring (9) holed and joined to the shaft.

The exclusive license agreement for patents and intellectual property works grants ADIF, as licensee, an exclusive right over Patents and Intellectual Property of the systems in the territory of the European Union. With which, ADIF may grant sub-licenses, under equal conditions, for the use and exploitation of all or some of the licensed rights.

Specific: manufacture, assembly, commissioning, maintenance and marketing of patented goods and equipment.