Amortecedor (AMS)

Amortiguador de masas sintonizadas (AMS) para catenaria ríxida

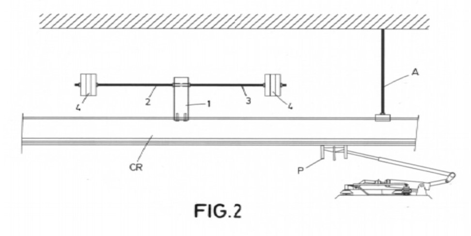
A presente invención enmárcase no campo técnico dos medios para suprimir ou amortecer as vibracións, así como o dos detalles e accesorios das liñas de subministración de corrente ao longo da vía para vehículos de propulsión eléctrica e refírese en particular a un amortecedor de masas sintonizadas capaz de atenuar todo ou parte das vibracións en sistemas de catenaria ríxida ferroviaria.