Tensor Hidráulico

Tensor hidráulico para liberar tensiones en vías de ferrocarril

Este tensor tiene como finalidad liberar las tensiones en los carriles de la vía debidas a las dilataciones y contracciones provocadas por la variación de temperatura en las distintas estaciones del año.

Descripción

El trabajo del tensor consiste en amarrar dos tramos de carril consecutivos sometiéndolos a un esfuerzo de tracción para aproximar los bordes adyacentes de tales tramos tendiendo a unirlos hasta dejar un estrecho espacio correspondiente con una cala de soldeo colocada previamente para después proceder a la soldadura y unión de ambos tramos de carril mediante dichas calas de soldeo, quedando así ambos tramos de carril sometidos a un esfuerzo de tracción controlada que se mantendrá después de desmontar el tensor hidráulico con un alargamiento de tales tramos de carril.

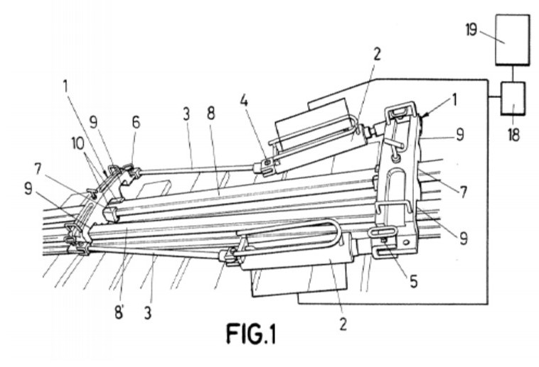
Tiene dos bloques de amarre asociados mediante un par de cilindros hidráulicos y unos tirantes longitudinales, contando tales bloques de amarre con una canalización centrada, cuyo fondo apoya sobre la banda de rodadura de la cabeza de dos tramos consecutivos de un carril de vía, incorporándose además unas cuñas para afianzar la fijación de tales bloques de amarre.