Grúa Manipulación Contenedores

Grúa para manipulación de contenedores

La presente invención se refiere a una grúa para la manipulación de contenedores, en concreto, la presente invención se refiere a un accesorio acoplable a una grúa que permite la manipulación de contenedores cuyas medidas no son estándar.

Es aplicable tanto a grúas de pórtico como a las grúas móviles autopropulsadas portacontenedores.

Características

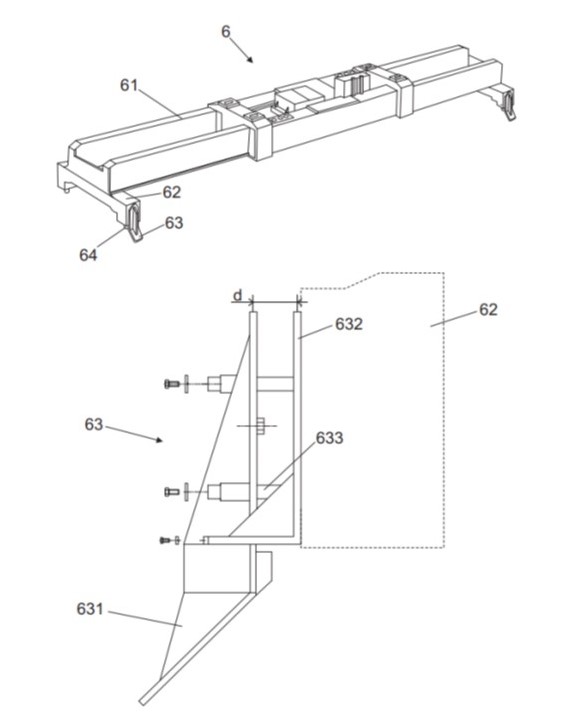
La grúa para la manipulación de contenedores comprende:

• una cabina de control;
• un spreader que comprende actuadores para su desplazamiento y medios de comunicación con la cabina de control;
• al menos una aleta acoplada a dicho spreader; y
• una bayoneta que, a su vez, comprende un sistema de bloqueo por rotación adaptada para acoplarse a la parte superior de un contenedor; en el que dicha aleta se extiende transversalmente a una distancia determinada del spreader.

Permite utilizar una misma grúa para diferentes tamaños de contenedores agilizando, en consecuencia, las labores de movimiento de contenedores.

La grúa según la presente invención comprende un mecanismo de desplazamiento de la aleta en una dirección sustancialmente transversal respecto al spreader. Esta capacidad de desplazamiento de la aleta es lo que permite que la grúa pueda alinearse, mediante una fácil reconfiguración de las aletas, a diferentes 5 tamaños de contenedores que es especialmente ventajoso, por ejemplo, en el caso de contenedores que disponen de un aislamiento térmico que aumenta sus dimensiones. En concreto, la presente invención comprende dos aletas acopladas al spreader