Interlocking Cabin Control

Procedure for remote control of electrical systems in interlocking cabinets

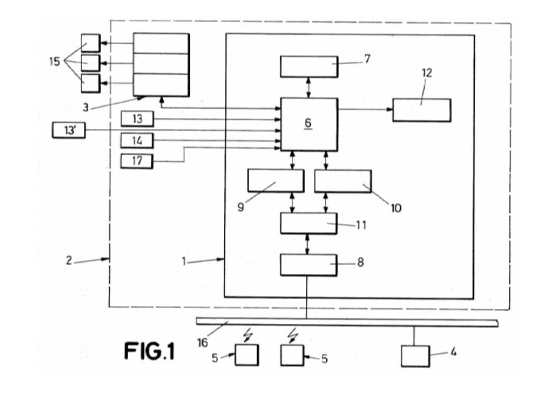
The remote control procedure of the invention consists of a command and information system of certain electrical installations located in the cabins of the security installations interlocks by means of telephone commands and voice information through the telephone line, these cabinets being located normally in stations.

Thus, the aim is to remotely control certain electrical elements located in the interlocking cabinets in order to have precise information on such electrical elements and to know if there is any anomaly, without having to approach the interlocking cabinet to carry out such checks as is conventionally the case. In turn, this makes it possible to solve certain known faults also remotely, which is not possible at the present time.