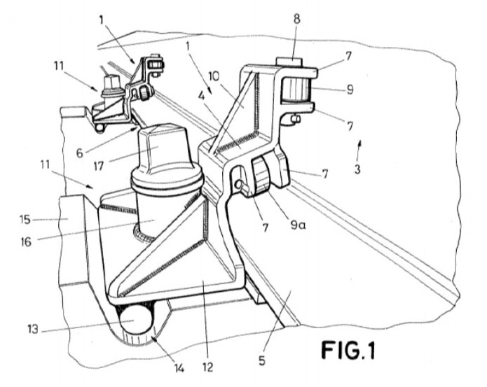
Guiding parts

Rail track guiding parts without joints in bends during stress relief operation (PNAC ).

When the rail is pulled (an operation that is conventionally performed in the release of longitudinal stresses), these pieces guide the longitudinal displacement that occurs in the rail while at the same time preventing the transverse or straightening displacement that the rail tends to perform when curved and pulling it lengthwise.

It also avoids the vertical displacement or overturning that the rail tends to undergo when it is pulled and curved.

The invention is applicable in the operation of releasing longitudinal stresses in the rail in curves of the railway and more specifically in curves of reduced radius, less than 500m radius in plan.

It consists of an arm provided with fastening means to a crossmember, and includes at least one
Rotating roller that rests on a sectioning element between the web and the rail skid or on both.