Sigma

Procediment i dispositiu de control d'incidències en infraestructura del transport ferroviari per a la gestió i el monitoratge d'alarmes

La invenció es refereix a un procediment de control d'incidències i anomalies en infraestructures de transport, tant de passatgers com de mercaderies, de manera especial en les infraestructures ferroviàries i la notificació al personal de manteniment d'infraestructures.

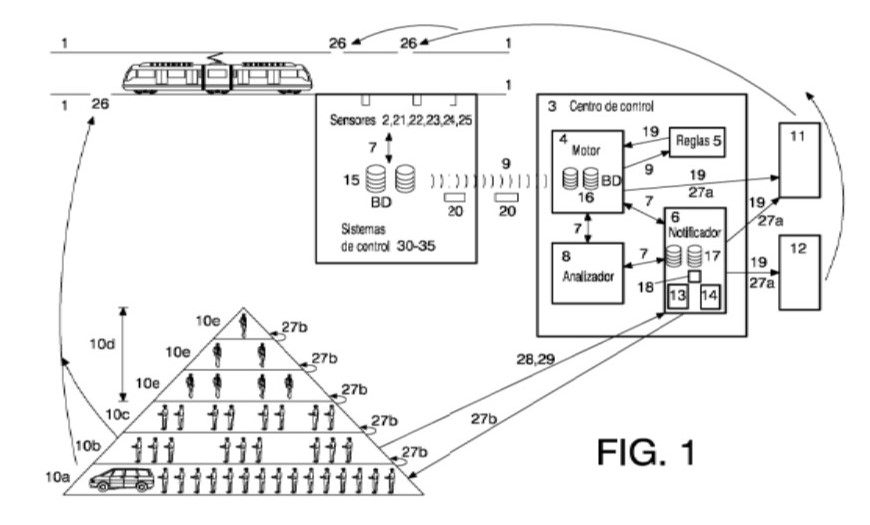
També es descriu el dispositiu de control amb què es du a terme el procediment de manera que analitza una sèrie de paràmetres enviats mitjançant un senyal, relatius a una xarxa de transport per la qual circulen viatger i mercaderies indistintament.

La xarxa de transport comprén un conjunt de sensors de control, que registren els paràmetres analitzats relatius a la xarxa de transport; uns sistemes primigenis de control, que aglutinen la informació procedent dels sensors de control en una base de dades; un centre de control d'instal·lacions de la infraestructura, on es canalitza la recollida de dades sobre possibles incidències que ocorren en la xarxa de transport.