Inspecció de balast

Dispositiu per a la Inspecció de balast de vies ferroviàries

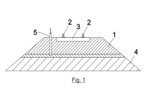
Aquesta invenció fa referència a un dispositiu per a inspecció del balast de vies ferroviàries, mitjançant el qual es poden conèixer les característiques de l’estat i gruix del balast sense haver de fer operacions destructives.

Per proporcionar, a la superestructura de les vies ferroviàries, les característiques idònies d’estabilitat, elasticitat, drenatge i durabilitat, és fonamental en les seves obres de construcció, manteniment o renovació utilitzar un balast homogeni i d’adequada qualitat.

El balast, com a esglaó entre les travesses i l’explanació o plataforma ferroviària, compleix funcions importants. El balast distribueix les càrregues transmeses pels trens homogèniament sobre la plataforma i assegura la posició fixa i inamovible de les travesses. Per poder resistir aquests esforços dinàmics, el llit del balast ha de ser molt elàstic. El seu bon funcionament depèn de l’alçària de la capa de balast, la seva granulometria i el grau de contaminació.

No obstant això, al llarg dels anys, el balast es contamina per diversos motius, amb què perd efectivitat i arriba a deixar de complir les funcions necessàries, bé per pèrdua de les arestes de les pedres o partícules del balast o per una penetració alta d’elements fins, fins a fer necessari el tractament o renovació del balast.